
El dock del Nintendo Switch es algo muy importante. Gracias a esta pieza de hardware, la consola híbrida es capaz de conectarse a una televisión. Sin embargo, su función no va más allá de esto. Ahora, un reciente registro de patente nos muestra cómo es que la Gran N ha pensado en mejorar este aditamento para hacer que su única tarea sea más fácil de ejecutar.
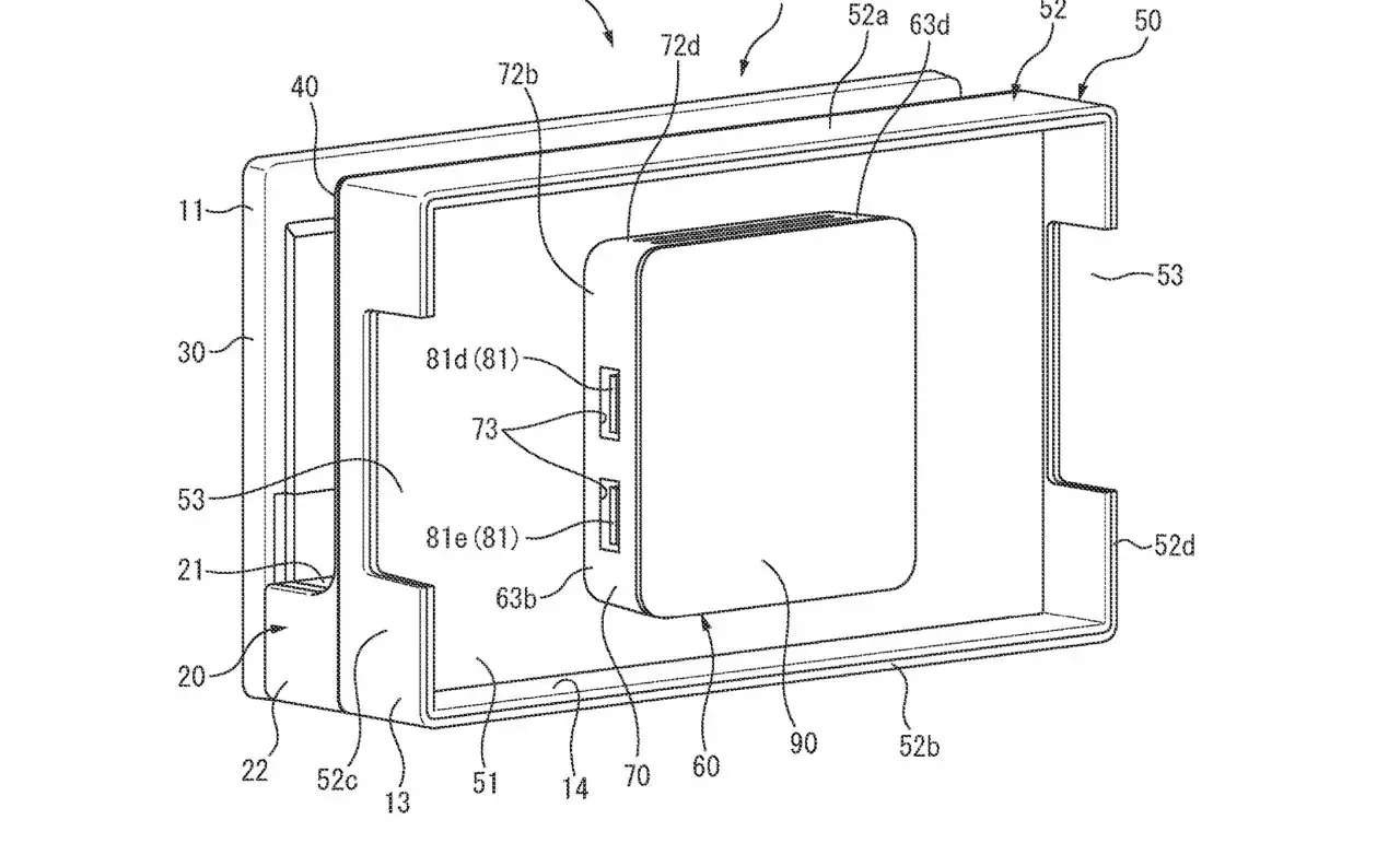
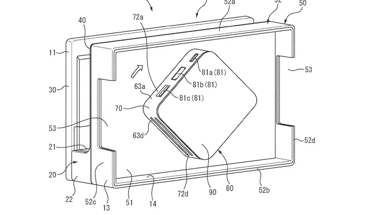
De acuerdo con un registro de patente, el cual se llevó a cabo el pasado 2 de abril de 2024, Nintendo ha considerado crear un dock con un “bloque giratorio”. Esta pieza se puede mover en 180 grados, e incluye un puerto HDMI, USB y LAN. Su función es bastante simple, permitir que la conexión entre el dock y la televisión sea mucho más sencilla.
Recordemos que el modelo actual del dock cuenta con una salida a la derecha, por lo que siempre tiene que estar conectado a la izquierda de una televisión. La patente agrega un dispositivo que se puede rotar que elimina las limitaciones que encontramos actualmente. No es algo que cambie sustancialmente la experiencia del usuario, sino que trata de facilitar el uso del dispositivo.
Por el momento se desconoce si Nintendo tiene pensado implementar este “bloque giratorio” en un futuro, como lo bien podría ser en el dock del Switch 2, o si solo es una idea que desean proteger. Recordemos que una patente no es una garantía de que algo sucederá. En temas relacionados, Nintendo confirma más despidos. De igual forma, la Gran N quiere saber tu opinión sobre la serie de Mario & Luigi.
Nota del Editor:
Este es un dock interesante. Si bien nunca tuve algún problema con la ubicación del puerto HDMI, no dudo que hay algunas personas que no están contentas con este apartado. Espero que este sea un apartado en donde el Switch 2 ofrezca una mejora sustancial.
Vía: Nintendo Life





